Time Relay M1 compact SW on Delay 12 V

go to order options

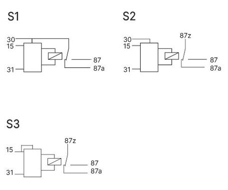
Time relays with switch on delay compact switch on the load after the specified delay time has elapsed. Please specify the desired delay time when ordering. All schematics: Operating voltage is applied to terminal 30/87z. If the voltage is set at Terminal 15, the relay will pull on at the end of the specified time. If the voltage is removed at Terminal 15, the relay immediately drops off.

Circuit diagram S2 and S3: The contacts are separate from the control and can therefore be used in links. With the Variants S2 and S3, the relay contact is completely potential-free and thus capable of switching alternating voltage. Housing forms can be found in the section housing and basic body.

Downloads
Technical details

Inputs and Outputs

Number of pins 5
In-/Outputs (total) 2
Inputs (total) 1
Inputs (digital) 1
Outputs (total) 1
Relay outputs 1
Switching current 20 A

Mechanical Properties

IP rating IP53
Housing material PA66GF30
Dimensions 30 × 30 × 30 mm
Switching cycles 100000

Programming

Programming software MRS Realizer

General

Temperature range -40 to +85°C
Operating voltage 9-16 V
Current consumption 75 mA 
Quiescent current (12V) 1 mA

Markings

Order options
Order no.Name
1.003.184.xx
Individual delay time, Type A, Connection S1
1.003.185.xx
Individual delay time, Type B, Connection S2
1.003.183.xx
Individual delay time, Type C, Connection S3

Contact

Would you like to learn more or are you looking for a specific product?

Then please feel free to contact us.

 

Contact Form Clear

Contact Form Clear